ge plc编程软件8.0 GE PLC编程软件的安装

小编 93 0

GE PLC编程软件的安装

视频加载中...

水力发电机组轴承过热保护PLC的程序设计

本文通过对西津水力发电厂机组轴承过热保护PLC程序设计的分析,充分了解和掌握程序设计的思路,对水电厂机组的安全维护具有现实的意义。

西津水电厂属于低水头河床式水电站,从20世纪90年代开始,逐步将历史经验沉淀的机组自动化信号元件配置改造成为具有现代高技术含量的计算机监控系统。在技术改造过程中,将几十年积累的经验与现代高技术相结合,在现地控制单元PLC程序设计中,形成一套比较完善的机组自动化控制程序。

水力机械事故保护程序是PLC程序设计重要模块,其中机组轴承过热保护是关键。水力发电机组的上导、推力、下导和水导轴承,均改造为塑料轴瓦。发信采样点数分别为上导2点、推力4点、下导2点和水导2点,温度升高报警值为55ºC,温度过高事故停机值为65 ºC。各测点的PLC编程都是类似的,为了避免重复,下面仅对典型的推力轴承过热保护PLC程序设计作简要分析。

PLC硬件、软件配置

PLC采用美国通用电气的GE90-70系列,通过通讯模块直接上以太网;感温元件采用PT100铂电阻。PLC编程软件使用GE公司开发的windows平台下的Proficy Machine Edition V5.60。

在编程前,根据现场设备确定开关量(包含中断量、输入和输出量)、模拟量和RTD量等外围信号的点数,先完成硬件配置,接下来就是统筹考虑,分配各功能模块的软元件,对每个软元件定义别名,并做一些简要的描述。做好了前期定义配置工作,就可以根据用户的应用流程进行PLC编程。表1仅为推力轴承RTD第一点过热保护设计所需要的软元件定义分配表,为便于阅读,已对原程序的软元件的定义作了适当的修改。

表1

PT100断线和阻值突变检测设计

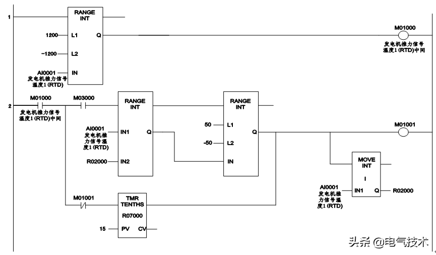
PT100感温信号经过屏蔽电缆引至现地控制单元(LCU)的RTD模块,其回路中间可能经过部分端子转接。PT100在机组的长期运行过程中,信号回路有可能出现开路或接触不良,阻值出现很大或突变现象。为此,在编程时,必须首先考虑如何检测这些不正常的情况,避免温度保护误动,引发事故停机。具体编程思路见图1。

图1

对于1 Rung :PLC在扫描过程中,先判断AI0001的数值是否-1200~1200(1位小数点,以下同)之间,在这个区间外,就可以判断PT100断线,中间变量M01000线圈失能,“PT100故障”光字牌点亮,信号上送报警;如果AI0001的数值在这个区间内,则判断PT100不断线,中间变量M01000线圈使能,开接点接通。

对于2 Rung : M03000为通道故障,在其他模块定义。首先在PT100不断线的情况下,M01000开接点接通,经过定时器15s,M01001线圈瞬间接通又由于回路中串有自身闭接点而断开,同时AI0001的数值写入变量R02000中。

下一次扫描,在通道不故障的情况下,M03000开接点接通,判断AI0001与R02000的差值是否在-50~50,若在这个区间内,说明轴瓦温度在正常范围内递增或递减,没有出现突变现象,M01001线圈使能,AI0001的数值再次写入变量R02000中,为后续回路做准备。

温度升高和过高检测处理设计

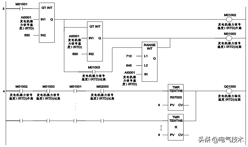
在判断PT100正常的条件下,下一步就是进行温度升高和过高检测处理设计。这一步设计的指导思想是,温度升高仅发信,引起运行人员的注意,温度过高应在温度升高的基础上判断,并设置一个迂回值,防止在临界点抖动;停机开出驱动两两串接(即1和2、2和3、3和4,4和1),以提高判断的准确性和可靠性,防止误动。根据这个设计思想,具体编程思路见图2。

图2

对于3 Rung : 在PT100正常的条件下,M01001开接点接通。如果AI0001的数值超过550时,M01002线圈使能,点亮“推力轴承温度升高”光字牌,并上送故障信号;同理,在温度升高的基础上,如果AI0001的数值超过650时,M01003线圈使能,点亮“推力轴承温度过高”光字牌,并上送该点事故信号,而另一支路为嵌位回路,AI0001的数值在645~710时,M01003线圈一直使能,防止M01003抖动。

对于4 Rung : 在PT100正常的条件下,如果第一、二点RTD测温均超过65 ºC,并经定时器8s后,Q01000线圈使能,程序认为机组推力轴瓦温度过高,则由后面的回路驱动出口事故停机。推力轴瓦RTD 测点共有四点,每相邻两点两两串接,形成四条支路并联驱动Q01000。

开关量和光字牌输出设计

为保证机组的安全,PT100故障、轴瓦温度升高应发信,轴瓦温度过高必须发信并驱动出口事故停机。各点信号均点亮相应的光字牌,所有信息应上送上位机。事故出口回路一般设有压板和事故复归按钮,方便运行人员投切保护回路或事故解除后复归保护回路和信号。具体编程思路见图3。

图3

对于5 Rung : Q01000开接点经过轴承过热压板I00101驱动Q01001、Q01002,Q01001开接点与事故复归按钮I00100串联作为自保持回路。由Q01001驱动开出继电器,外围操作回路事故电磁阀1DPK动作,机组事故停机。事故解除后,Q01000复归,可由运行人员按下事故复归按钮,I00100闭接点断开一下,Q01001、Q01002线圈失能,再由其他回路驱动外围操作回路复归事故电磁阀1DPK。

对于6 Rung、7 Rung、8 Rung:这三步均为相应的光字牌点亮回路。由M01000闭接点驱动Q01003,点亮“PT100故障”光字牌;由M01002开接点驱动Q01004,点亮“推力轴承温度升高”光字牌;由M01003开接点驱动Q01005,点亮“推力轴承温度过高”光字牌。所有信息应上送上位机报警。

经验总结

西津水电厂机组自动化经过技术改造后,几十年的运行维护经验在高技术的光环下大放光彩,凸显了勃勃生机。完善成熟的机组PLC控制程序是计算机监控系统最重要的应用程序之一,经过十几年运行实践证明,西津水电厂机组PLC控制程序是安全可靠的,特别是水机事故保护并没有出现过因PLC编程而误动的现象。

(摘编自《电气技术》,原文标题为“水力发电机组轴承过热保护PLC程序设计分析”,作者为杨献。)

相关问答

什么是GEAB运作系统?

是两家公司。GE和罗克韦尔是两家不同的公司,AB(Allen-Bradley)是罗克韦尔自动化下属的一个重要品牌。两家公司的PLC也不一样。ABPLC现在主要有:高端的Con...

GEPLC编程软件我的电脑有授权肿么给新装GE的电脑进行授权...

不知道你是不是用PROFICYMACHINEEDITION编辑软件,在HELP中选PRODUCTAUTHORIZATION选TRANSFERLICENSE我想你肯定用的是软授权,如果是正版...

谁有GEPLC的培训内容,一般培训几天?

我有一份在北京精诚智和教育科技公司培训过的GEPLC培训内容,是去年给我们公司做GEPLC企业内训的内容,我们做了4天,企业需求不同,培训天数也不同:1、GEP...

GE触摸屏怎么连接plc?

要连接GE触摸屏和PLC,需要按照以下步骤进行操作:1.确认GE触摸屏和PLC的通信接口类型,以及PLC的通信协议。这些信息通常在设备的技术规格或说明书中可以找到。...

GEPLC如何配置?

首先要确定PLC的CPU型号,是否双机热备等,双机热备首先进行主机架配置。然后确定分站数量,GE的plcIO站一般采用比较经济的versamax,首先是电源模块,然后是GB...

plc程序编好后怎样启动?

模拟系统实际的输入信号,在程序运行中的适当时刻,通过手动操作开关,接通或断开输入信号,来模拟各种机械动作使检测元件状态发生变化,同时通过PLC输出端状态...

geplc在线不了怎么办?

如果GEPLC在线不了,有几种可能的原因和解决方法。首先,GEPLC无法在线可能是由于网络连接问题造成的。解决此类问题的方法包括检查您的网络连接,确保您的设备...

求助GEplc问题如图-盖德问答-化工人互助问答社区

先量一下11通道,不行换卡件试试。你这是di点吧,有时候di回路状态指示led灯也有可能会坏的。如果确认软件指示跟现场一致,好像也没啥可纠结的。这...

在单位做设备维修,很多设备上有PLC,想在PLC上多下点功夫,怎么做?

我是矿山电气小东,分享电气知识。看到这个问题时,第一时间就想到了我自己在十几年前,初次接触PLC的场景我与PLC初相识那还是在2007年的一天,我们矿的一斜...1...

GEPLC连接后程序无法上传电脑?

打开本地连接里面显示本地连接的对话框,此时备用。然后右键左下角win10的图标选择计算机管理,选择服务与应用程序,选择服务,在服务里找到networksetupserv...