直播课堂
HOME
直播课堂
正文内容
plc 自动流程编程实例 干货!常见的PLC程序实例详解,看完就懂(附图)
发布时间 : 2026-01-02
作者 : 小编
访问数量 : 23
扫码分享至微信

干货!常见的PLC程序实例详解,看完就懂(附图)

十字路口的交通指挥信号灯布置:

一、控制要求

(1)信号灯系统由一个启动开关控制,当启动开关接通时,该信号灯系 统开始工作,当启动开关关断时,所有信号灯都熄灭。

(2)南北绿灯和东西绿灯不能同时亮。如果同时亮应关闭信号灯系统, 并立刻报警。

(3)南北红灯亮维持 25s。在南北红灯亮的同时东西绿灯也亮,并维持 20s。到 20s 时,东西绿灯闪亮,闪亮 3s 后熄灭,此时,东西黄 灯亮,并维持 2s。到 2s 时,东西黄灯熄灭,东西红灯亮。同时, 南北红灯熄灭,南北绿灯亮。

(4)东西红灯亮维持 30s。南北绿灯亮维持 25s,然后闪亮 3s 后熄灭。 同时南北黄灯亮,维持 2s 后熄灭,这时南北红灯亮,东西绿灯亮。

(5)以上南北、东西信号灯周而复始地交替工作状态,指挥着十字路口 的交通,其时序如下所示。

二、PLC 接线

三、定义符号地址

四、梯形图程序

三层楼电梯控制

电梯的上升、下降由一台电动机控制;正 转时电梯上升、反转时电梯下降。各层设一个呼叫开关(SB1、SB2、SB3)、 一个呼叫指示灯(H1、H2、H3)、一个到位行程开关(ST1、ST2、ST3)。

一、控制要求:

(1)各层的呼叫开关为按钮式开关,SB1、SB2 及 SB3 均为瞬间接通有效

(即瞬间接通的即放开仍有效)。

(2)电梯箱体上升途中只响应上升呼叫,下降途中只响应下降呼叫,任何 反方向呼叫均无效,简称为不可逆响应。具体动作要求,如下表。

(3)各楼层间有效运行时间应小于 10S,否则认为有故障、自动令电动机停转。

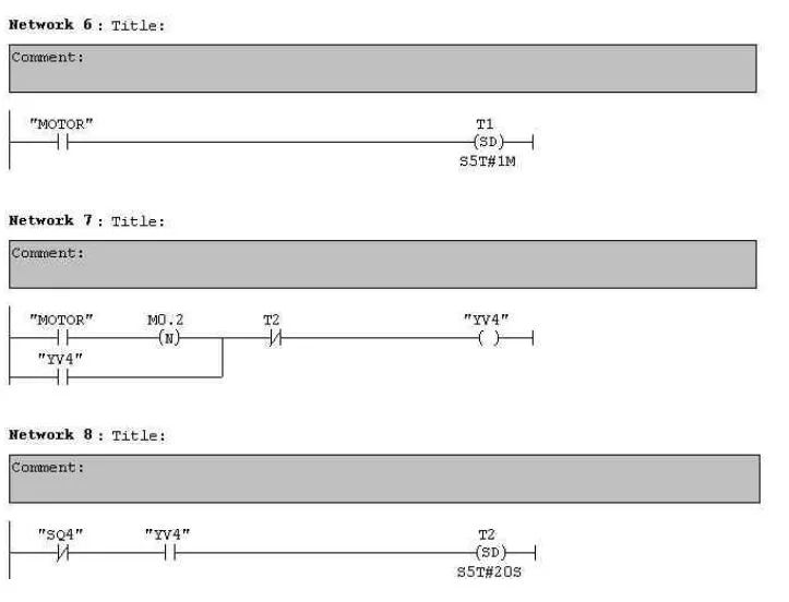
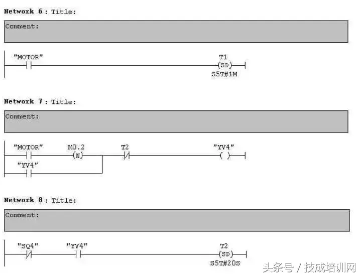
多种液体自动混合装置的 PLC 控制 如图所示为三种液体混合装置,SQ1、SQ2、SQ3 和 SQ4 为液面传感器, 液面淹没时接通,液体 A、B、C 与混合液阀由电磁阀 YV1、YV2、YV3、 YV4 控制,M 为搅匀电动机,其控制要求如下:

1.初始状态

装置投入运行时,液体 A、B、C 阀门关闭,混合液阀门打开 20s 将容 器放空后关闭。

2.起动操作

按下启动按钮 SB1,装置开始按下列给定规律运转:

①液体 A 阀门打开,液体 A 流入容器。当液面达到 SQ3 时,SQ3 按通, 关闭液体 A 阀门,打开液体 B 阀门。

②当液面达到 SQ2 时,关闭液体 B 阀门,打开液体 C 阀门。

③当液面达到 SQ1 时,关闭液体 C 阀门,搅匀电动机开始搅拌。

④搅匀电动机工作 1min 后停止搅动,混合液体阀门打开,开始放出 混合液体。

⑤当液面下降到 SQ4 时,SQ4 由接通变断开,再过 20s 后,容器放空, 混合液阀门关闭,开始下一周期。

3.停止操作

按下停止按钮 SB2 后,要将当前的混合操作处理完毕后,才停止操 作(停在初始状态)

参考程序:

霓虹灯广告屏控制器的设计

用 PLC 对霓虹灯广告屏实现控制,其具体要求如下:

该广告屏中间 8 个灯管亮灭的时序为第 1 根亮→第 2 根亮→第 3 根 亮→…→第 8 根亮,时间间隔为 1s,全亮后,显示 10s,再反过来从 8→7→…→1 顺序熄灭。全灭后,停亮 2s,再从第 8 根灯管开始亮 起,顺序点亮 7→6→…→1,时间间隔为 1s,显示 20s,再从→2→…→8 顺序熄灭。全熄灭后,停亮 2s,再从头开始运行,周而复始。

参考梯形图程序:

设计程序,使两个气缸顺序动作,其顺序为:A1B1B0A0。

(一)气控回路

(二)位移-步骤图

(三)I 型障碍信号分析

(四)PLC 接线

(五)定义符号地址

(六)梯形图程序

自动售货机的 PLC 控制

如下图所示的自动售货机示意图,其工作要求如下:

1.此售货机可投入 1 元、5 元或 10 元硬币。

2.当投入的硬币总值超过 12 元时,汽水按钮指示灯亮;当投入的硬

币总值超过 15 元时,汽水及咖啡按钮指示灯都亮。 3.当汽水按钮灯亮时,按汽水按钮,则汽水排出 7s 后自动停止,这段时间内,汽水指示灯闪动。 4.当咖啡按钮灯亮时,按咖啡按钮,则咖啡排出 7s 后自动停止,这段时间内,咖啡指示灯闪动。 5.若投入硬币总值超过按钮所需的钱数(汽水 12 元,咖啡 15 元)时,找钱指示灯亮,表示找钱动作,并退出多余的钱。

参考答案:

常见PLC程序实例详细分析,看完就懂(附图)

十字路口的交通指挥信号灯布置:

一、控制要求

(1)信号灯系统由一个启动开关控制,当启动开关接通时,该信号灯系 统开始工作,当启动开关关断时,所有信号灯都熄灭。

(2)南北绿灯和东西绿灯不能同时亮。如果同时亮应关闭信号灯系统, 并立刻报警。

(3)南北红灯亮维持 25s。在南北红灯亮的同时东西绿灯也亮,并维持 20s。到 20s 时,东西绿灯闪亮,闪亮 3s 后熄灭,此时,东西黄 灯亮,并维持 2s。到 2s 时,东西黄灯熄灭,东西红灯亮。同时, 南北红灯熄灭,南北绿灯亮。

(4)东西红灯亮维持 30s。南北绿灯亮维持 25s,然后闪亮 3s 后熄灭。 同时南北黄灯亮,维持 2s 后熄灭,这时南北红灯亮,东西绿灯亮。

(5)以上南北、东西信号灯周而复始地交替工作状态,指挥着十字路口 的交通,其时序如下所示。

二、PLC 接线

三、定义符号地址

四、梯形图程序

三层楼电梯控制

电梯的上升、下降由一台电动机控制;正 转时电梯上升、反转时电梯下降。各层设一个呼叫开关(SB1、SB2、SB3)、 一个呼叫指示灯(H1、H2、H3)、一个到位行程开关(ST1、ST2、ST3)。

一、控制要求:

(1)各层的呼叫开关为按钮式开关,SB1、SB2 及 SB3 均为瞬间接通有效

(即瞬间接通的即放开仍有效)。

(2)电梯箱体上升途中只响应上升呼叫,下降途中只响应下降呼叫,任何 反方向呼叫均无效,简称为不可逆响应。具体动作要求,如下表。

(3)各楼层间有效运行时间应小于 10S,否则认为有故障、自动令电动机停转。

多种液体自动混合装置的 PLC 控制 如图所示为三种液体混合装置,SQ1、SQ2、SQ3 和 SQ4 为液面传感器, 液面淹没时接通,液体 A、B、C 与混合液阀由电磁阀 YV1、YV2、YV3、 YV4 控制,M 为搅匀电动机,其控制要求如下:

1.初始状态

装置投入运行时,液体 A、B、C 阀门关闭,混合液阀门打开 20s 将容 器放空后关闭。

2.起动操作

按下启动按钮 SB1,装置开始按下列给定规律运转:

①液体 A 阀门打开,液体 A 流入容器。当液面达到 SQ3 时,SQ3 按通, 关闭液体 A 阀门,打开液体 B 阀门。

②当液面达到 SQ2 时,关闭液体 B 阀门,打开液体 C 阀门。

③当液面达到 SQ1 时,关闭液体 C 阀门,搅匀电动机开始搅拌。

④搅匀电动机工作 1min 后停止搅动,混合液体阀门打开,开始放出 混合液体。

⑤当液面下降到 SQ4 时,SQ4 由接通变断开,再过 20s 后,容器放空, 混合液阀门关闭,开始下一周期。

3.停止操作

按下停止按钮 SB2 后,要将当前的混合操作处理完毕后,才停止操 作(停在初始状态)

参考程序:

霓虹灯广告屏控制器的设计

用 PLC 对霓虹灯广告屏实现控制,其具体要求如下:

该广告屏中间 8 个灯管亮灭的时序为第 1 根亮→第 2 根亮→第 3 根 亮→…→第 8 根亮,时间间隔为 1s,全亮后,显示 10s,再反过来从 8→7→…→1 顺序熄灭。全灭后,停亮 2s,再从第 8 根灯管开始亮 起,顺序点亮 7→6→…→1,时间间隔为 1s,显示 20s,再从→2→…→8 顺序熄灭。全熄灭后,停亮 2s,再从头开始运行,周而复始。

参考梯形图程序:

设计程序,使两个气缸顺序动作,其顺序为:A1B1B0A0。

(一)气控回路

(二)位移-步骤图

(三)I 型障碍信号分析

(四)PLC 接线

(五)定义符号地址

(六)梯形图程序

自动售货机的 PLC 控制

如下图所示的自动售货机示意图,其工作要求如下:

1.此售货机可投入 1 元、5 元或 10 元硬币。

2.当投入的硬币总值超过 12 元时,汽水按钮指示灯亮;当投入的硬

币总值超过 15 元时,汽水及咖啡按钮指示灯都亮。 3.当汽水按钮灯亮时,按汽水按钮,则汽水排出 7s 后自动停止,这段时间内,汽水指示灯闪动。 4.当咖啡按钮灯亮时,按咖啡按钮,则咖啡排出 7s 后自动停止,这段时间内,咖啡指示灯闪动。 5.若投入硬币总值超过按钮所需的钱数(汽水 12 元,咖啡 15 元)时,找钱指示灯亮,表示找钱动作,并退出多余的钱。

参考答案:

End

评论处大家可以补充文章解释不对或欠缺的部分,这样下一个看到的人会学到更多,你知道的正是大家需要的。。。

相关问答

plc程序处理的工作流程?

1、输入刷新阶段:PLC以扫描工作方式,输入电路时刻监视着输入状况,并将其暂存于输入映像寄存器中。2、程序执行阶段:PLC按顺序对程序进行串行扫描处理,并分...

plc工作过程五个阶段?

二.顺控阶段顺序控制在工业中的应用相当广泛,例如一般性的自动机床它就是一个顺序控制过程。PLC设计中实现顺控的有两种方法:一PLC中的顺控指令如三菱STL;...

PLC程序结构怎么搭建,自动流程图怎么才能构思缜密没漏洞?

原图文请查看我头条号文章结合项目的实际情况,选用合适的程序设计结构,注意编程常用技巧,可以事半功倍。题图:西门子S7-1200PLC来源:EVERYPIXELPLC...过...

plc编程要如何做能在最短时间内学会?

plc编程要如何做能在最短时间内学会任何事都没有捷径可走,plc编程也一样好多类似“几天精通”的都是噱头尤其是个别的plc培训机构,学这个还得脚踏实地一步一步...

如何编制电动机启动-保持-停止电路PLC程序(梯形图与指令表)?

X1启动/停止按钮Y0一直ONY1电机1Y2电机2Y3电机3T1启动/停止间隔M100急停按一下X1就开始顺序启动,再按一下就是顺序停止。这...X1启动/停....

plc扫描顺序对逻辑结果的影响实例?

最明显的就是双线圈输出了,以西门子为例。输出线圈Q0.0,程序段第一行按按钮SB1接通Q0.0,但第二行是按按钮SB2接通Q0.0。即便我们在监控程序时看到按SB1可以接...

plc单独编程到调试过程详情?

熟悉控住对象、PLC选型及确定硬件配置、设计PLC的外部接线。设计控制程序、程序调试和编制技术文件。1了解控制对象,确定控制要求这一步是系统设计的基础。...

plc一个简单程序的理解?

冲接通)此时再按下X0接通M0线圈,M0常...此时再按下X0接通M0线圈,M0常闭触点就会断开Y1自锁回路,下面的M0常开因Y1线圈当时处于得电状态,所以M0常开触点闭合...

plc顺序启动,逆序停止怎么实现?

PLC程序运行都是诸条命令扫描的,不可能反向扫描。实现顺序启动,逆序停止,就需要编写两个功能块,一个是顺序的,用于启动;一个是逆序的,用于停止。由主程序...

哪位老师!麻烦回答一下台达plc控制伺服电机转动的程序例子?...

[回答]提高伺服控制系统速度的变化率可以提高纺织细纱机的生产效率。用一台PLC控制两组伺服驱动电机,两台电机启停时间错开,通过机械装置合成可使速度变化...

 付功超  栗栖エリカ 
王经理: 180-0000-0000(微信同号)
10086@qq.com
北京海淀区西三旗街道国际大厦08A座
©2026  上海羊羽卓进出口贸易有限公司  版权所有.All Rights Reserved.  |  程序由Z-BlogPHP强力驱动
网站首页
电话咨询
微信号

QQ

在线咨询真诚为您提供专业解答服务

热线

188-0000-0000
专属服务热线

微信

二维码扫一扫微信交流
顶部