课程中心
HOME
课程中心
正文内容
plc基础FX系列plc基础编程 三菱FX系列PLC完全精通教程
发布时间 : 2026-01-16
作者 : 小编
访问数量 : 23
扫码分享至微信

三菱FX系列PLC完全精通教程

随着计算机技术的发展,以可编程控制器(PLC)、变频器、伺服驱动系统和计算机通信等技术为主体的新型电气控制系统已经逐渐取代传统的继电器控制系统,并广泛应用于各个行业。其中,西门子、三菱的PLC、变频器、触摸屏及伺服驱动系统具有卓越的性能,且有很高的性价比,因此在工控市场占有非常大的份额,应用十分广泛。

近年来,由于工控技术不断发展,产品更新换代,性能得到了进一步提升,为了更好地满足读者学习新技术的需求,向您推荐这套全新的“老向讲工控”丛书。

本书采用双色图解的方式,从PLC 编程基础出发,分基础入门篇和应用精通篇两部分,系统介绍三菱FX 系列PLC 的编程及应用,主要内容包括:PLC 基础,三菱FX 系列PLC 的硬件和接线,GX Works2编程软件,FX 系列PLC 的编程语言和编程方法,FX3 系列PLC 的通信及其应用,FX3 系列PLC 在变频调速系统及运动控制中的应用,FX3 系列PLC 高速计数器功能及其应用,FX 系列PLC 的工程应用等。

本书知识系统、内容丰富、技术先进、重点突出、案例丰富,理论与实践相结合,实用性强。为帮助读者理解和提高学习效率,本书在关键知识点还配有微课视频,辅助读者学习。

拖动右侧滚动条可以查看全目录

目录

第1篇  基础入门篇  001第1章 可编程控制器(PLC)基础  0021.1 概述  0021.1.1 PLC的发展历史  0021.1.2 PLC的主要特点  0031.1.3 PLC的应用范围  0041.1.4 PLC的分类与性能指标  0051.1.5 PLC与继电器系统的比较  0061.1.6 PLC与微机的比较  0061.1.7 PLC的发展趋势  0071.1.8 PLC在我国的应用情况  0071.2 可编程控制器的结构和工作原理  0081.2.1 可编程控制器的硬件组成  0081.2.2 可编程控制器的工作原理  0111.2.3 可编程控制器的立即输入、输出功能  0121.3 接近开关  0131.3.1 接近开关的功能  0131.3.2 接近开关的分类和工作原理  0141.3.3 接近开关的选型  0141.3.4 应用接近开关的注意事项  0161.4 传感器和变送器  0191.5 隔离器  0211.6 数制和编码  0211.6.1 数制   0211.6.2 编码  024第2章 三菱FX3系列PLC的硬件  0262.1 三菱PLC简介  0262.1.1 三菱PLC产品系列  0262.1.2 三菱FX3U的特点  0272.2 FX3U基本单元及其接线  0272.2.1 FX3U的系统构成  0272.2.2 FX3U基本单元介绍  0292.2.3 FX3U基本单元的接线  0312.3 FX系列PLC的扩展单元和扩展模块及其接线  0352.3.1 FX系列PLC扩展单元及其接线  0352.3.2 FX系列PLC扩展模块及其接线  0392.4 FX系列PLC的模拟量模块及其接线  0402.4.1 FX系列PLC模拟量输入模块(A/D)  0402.4.2 FX系列PLC模拟量输出模块(D/A)  0462.4.3 FX系列PLC模拟量输入输出模块  0502.5 FX3系列PLC的扩展能力  052第3章 三菱FX系列PLC的编程软件GX Works2  0543.1 GX Works2编程软件的安装  0543.1.1 GX Works2编程软件的概述  0543.1.2 GX Works2编程软件的安装  0553.1.3 GX Works2编程软件的卸载  0583.2 GX Works2编程软件的使用  0593.2.1 GX Works2编程软件工作界面的打开  0593.2.2 创建新工程  0603.2.3 保存工程  0613.2.4 打开工程  0623.2.5 改变程序类型  0633.2.6 程序的输入方法  0633.2.7 连线的输入和删除  0663.2.8 注释  0663.2.9 程序的复制、修改与清除  0693.2.10 软元件搜索与替换  0733.2.11 常开常闭触点互换  0753.2.12 程序转换  0763.2.13 程序检查  0773.2.14 程序的下载和上传  0783.2.15 远程操作(RUN/STOP)  0813.2.16 在线监视  0833.2.17 当前值更改  0843.2.18 设置密码  0853.2.19 仿真  0873.2.20 PLC诊断  0883.3 用GX Works2建立一个完整的工程  089第4章 三菱FX3系列PLC的指令及其应用  0964.1 PLC的编程基础  0964.1.1 编程语言简介  0964.1.2 三菱FX3系列PLC内部软组件  0984.1.3 存储区的寻址方式  1124.2 基本指令  1134.2.1 输入指令与输出指令(LD、LDI、OUT)  1134.2.2 触点的串联指令(AND、ANI)  1144.2.3 触点的并联指令(OR、ORI)  1144.2.4 脉冲式触点指令(LDP、LDF、ANDP、ANDF、ORP、ORF)  1154.2.5 脉冲输出指令(PLS、PLF)  1164.2.6 置位与复位指令(SET、RST)  1184.2.7 逻辑反、空操作与结束指令(INV、NOP、END)  1194.3 基本指令应用  1194.3.1 单键启停控制(乒乓控制)  1194.3.2 定时器和计数器应用  1214.3.3 取代特殊继电器的梯形图  1244.3.4 电动机的控制  1264.4 功能指令  1364.4.1 功能指令的格式  1364.4.2 传送指令  1374.4.3 四则运算  1404.4.4 移位和循环指令  1444.4.5 数据处理指令  1454.4.6 高速处理指令  1494.4.7 方便指令  1514.4.8 外部I/O设备指令  1514.4.9 外部串口设备指令  1524.4.10 浮点数运算指令  1544.4.11 触点比较指令  1574.5 功能指令应用实例  1594.6 模拟量模块相关指令应用实例  1714.6.1 FX2N-4AD模块  1714.6.2 FX2N-4DA模块  1734.6.3 FX3U-4AD-ADP模块  1744.6.4 FX3U-3A-ADP模块  1764.7 子程序及其应用  1794.8 中断及其应用  180第2篇  应用精通篇  185第5章 步进梯形图及编程方法  1865.1 功能图  1865.1.1 功能图的画法  1865.1.2 梯形图的编程原则和禁忌  1925.1.3 步进指令  1935.2 可编程控制器的编程方法  1955.2.1 经验设计法  1955.2.2 流程图设计法  1965.2.3 流程图设计法实例  197第6章 三菱FX3系列PLC的通信及其应用  2106.1 通信基础知识  2106.1.1 通信的基本概念  2106.1.2 PLC网络的术语  2126.1.3 OSI参考模型  2146.2 现场总线概述  2156.2.1 现场总线的概念  2156.2.2 主流现场总线的简介  2156.2.3 现场总线的特点  2166.2.4 现场总线的现状  2166.2.5 现场总线的发展  2176.3 FX3U的N∶N网络通信及其应用  2176.3.1 相关的标志和数据寄存器的说明  2176.3.2 参数设置  2186.3.3 实例讲解  2186.4 无协议通信及其应用   2206.4.1 无协议通信基础  2206.4.2  西门子S7-200 SMART PLC与三菱FX3U之间的无协议通信  2216.5 CC-Link通信及其应用  2246.5.1 CC-Link家族  2256.5.2 CC-Link通信的应用  226第7章 三菱FX3系列PLC在变频调速系统中的应用  2337.1 三菱FR-E740变频器使用简介  2337.2 变频器的正反转控制  2387.3 变频器的速度给定方式  2417.3.1 FX3U控制变频器的模拟量速度给定  2417.3.2 FX3U控制变频器的多段速度给定  2437.3.3 FX3U控制变频器的通信速度给定  246第8章 三菱FX3系列PLC在运动控制中的应用  2538.1 三菱伺服系统  2538.1.1 三菱伺服系统简介  2538.1.2 三菱MR-J4-A伺服系统接线  2548.1.3 三菱伺服系统常用参数介绍  2618.1.4 用操作单元设置三菱伺服系统参数  2658.1.5 用MR Configurator2软件设置三菱伺服系统参数  2688.2 三菱MR-J4伺服系统工程应用  2698.2.1 伺服系统的工作模式  2698.2.2 FX3U运动控制相关指令应用  2708.2.3 FX3U对MR-J4伺服系统的位置控制  2778.2.4 FX3U 对MR-J4伺服系统的速度控制  2808.2.5 FX3U对MR-J4伺服系统的转矩控制  283第9章 三菱FX3系列PLC高速计数器功能及其应用  2859.1 三菱FX3系列PLC高速计数器的简介  2859.2 三菱FX3系列PLC高速计数器的应用  288第10章 三菱FX3系列PLC工程应用  29110.1 送料小车自动往复运动的PLC控制   29110.2 刨床的PLC控制  29510.3 剪切机的PLC控制  298参考文献  301

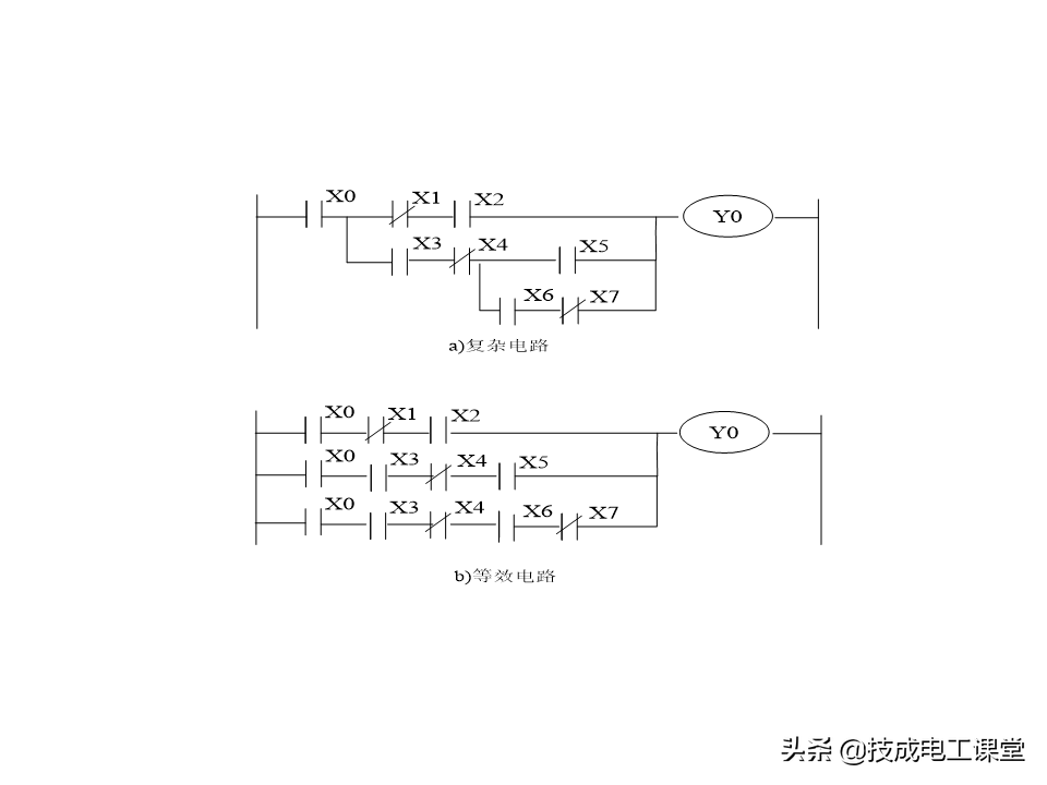
FX系列PLC编程基础

FX系列PLC编程基础

免责声明:本文转自网络,版权归原作者所有,如涉及作品版权问题,请及时与我们联系删除,谢谢!

如何获取 电气热门资料?

操作指引如下!

相关问答

三菱plcFX系列怎样用ST方式编程?

可以使用ST方式编程。因为ST(StructuredText)是一种高级的编程语言,它可以更灵活地编写复杂的控制逻辑,适用于需要进行复杂计算和逻辑判断的控制系统。相比...

三菱FX系列PLC编程时怎么写入注释-ZOL问答

它采用一类可编程的存储器,用于其内部存储程序,执行逻辑运算,顺序控制,定时,计数与算术操作等面向用户的指令,并通过数字或模拟式输入/输出控制各种类型的机械或...

三菱PLCFXCPU脉冲发送编程办法?

输出指令步骤分析如下:1、在左母线右侧双击鼠标输入上升沿控制软元件X0,当X0接通时执行脉冲指令。2、在X0触点后输入前沿脉冲“PLSM0,前沿脉冲指当X0从关...

三菱plcfx1n接线方法?

三菱PLCFX1N的接线方法具体分为输入端口和输出端口两大类。在输入端口中,需要将传感器等外部信号源连接到PLC的相应端口上,并按照正确的类型进行连接。在输...

三菱plcfx系列编程软件和仿真软件如何安装?

确定相应的文件夹来...1、打开相关的安装包,输入用户信息并点击下一步。2、在这里输入产品ID号以后点击下一步,比如英文字母或数字。3、需要选择目标位置,...

fx3u步进电机编程实例?

以下是一个基于FX3UPLC编程的步进电机实例程序:首先,我们需要定义几个变量用于控制步进电机:```M/*步进电机驱动线圈*/S/*步进电机是否继续*/C...以下...

他人传给我的三菱PLC程序,FX系列的怎么才能进入到里面去啊...

连接后把程序下载到PLC你有编程软件就可以打开他们说的对,要先安装编程软件(三菱GXDeveloper)版本高点好些,向下兼容程序。如果是初次操作或者遇到问题...

三菱FX系列PLC编程时如何写入注释?

回答如下:在三菱FX系列PLC编程时,可以使用“;”或“//”来写入注释。方法一:使用“;”写入注释在程序中,用“;”来注释掉一行或几行代码。例如:LDK1;将...

三菱fx3uplc编程指令里什么叫上升沿和下降沿?

plc编程软件中上升沿触点和向下沿触点指令PLS上升沿微分脉冲输出指令。它将指定信号上升沿进行微分后plc编程软件中上升沿触点和向下沿触点指令PLS上升沿微...

三菱fx3uplcpid编程实例?

料挤出机加热温度控制的一个单元,多路控制只要复制以后改一下元件编号就可以了,用于制冷的只要改变PID控制方向就可以,类似的都可以用。带8路温度采集+温度...

 赛尔号霍利迪斯  青盲之越狱 
王经理: 180-0000-0000(微信同号)
10086@qq.com
北京海淀区西三旗街道国际大厦08A座
©2026  上海羊羽卓进出口贸易有限公司  版权所有.All Rights Reserved.  |  程序由Z-BlogPHP强力驱动
网站首页
电话咨询
微信号

QQ

在线咨询真诚为您提供专业解答服务

热线

188-0000-0000
专属服务热线

微信

二维码扫一扫微信交流
顶部